Automotive 500-mA Low-Noise, Low-IQ LDO, SGM2080Q Replace LP5912-Q1.
SGM2080Q
SGM2080Q.pdf
FEATURES
? AEC-Q100 Qualified for Automotive Applications
Device Temperature Grade 1 TA = -40℃ to +125℃
? Operating Input Voltage Range: 1.5V to 5.5V
? Fixed Output from 0.8V to 4.2V
? Adjustable Output from 0.55V to 5.0V
? 500mA Output Current
? Output Voltage Accuracy: ±1% at +25℃
? Quiescent Current: 85μA (TYP)
? Low Dropout Voltage:
80mV (TYP) at 500mA, VOUT = 5V
? Current Limiting and Thermal Protection
? Excellent Load and Line Transient Responses
? With Output Automatic Discharge
? UVLO with Hysteresis
? Support Power-Good Indicator Function
? Stable with Small Case Size Ceramic Capacitors
? -40℃ to +125℃ Operating Temperature Range
? Available in Green TDFN-2×2-6DL and
TDFN-3×3-8KL Packages
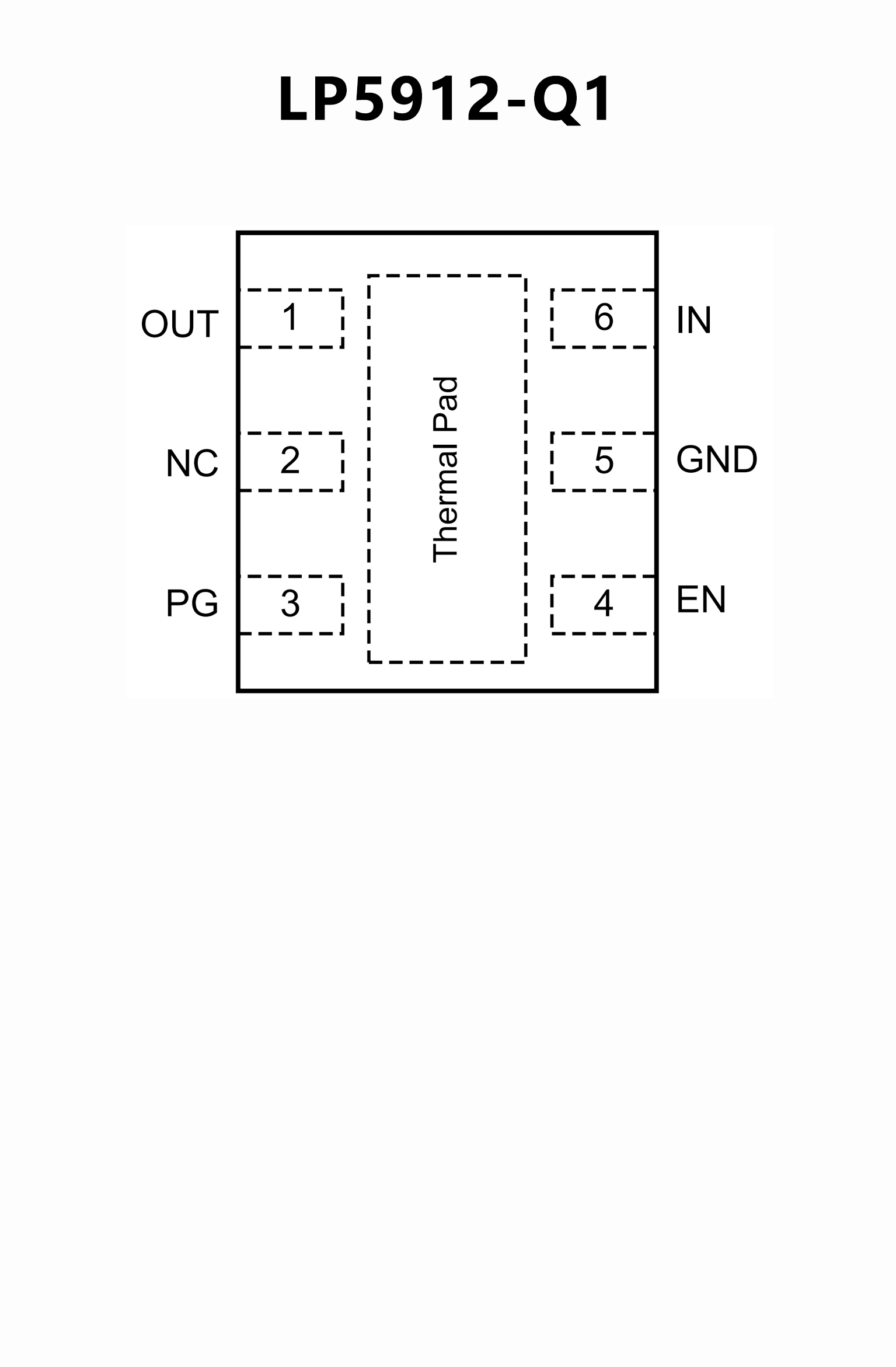
PIN CONFIGUTION
優勢替代
FEATURES
? Qualified for Automotive Applications
? AEC Q100-Qualified With the Following Results
– Device Temperature Grade 1: –40°C to
+125°C Ambient Operating Temperature Range
– Device HBM Classification Level 2
– Device CDM Classification Level C6
? Input Voltage Range: 1.6 V to 6.5 V
? Output Voltage Range: 0.8 V to 5.5 V
? Output Current up to 500 mA
? Low Output-Voltage Noise: 12 ?VRMS Typical
? PSRR at 1 kHz: 75 dB Typical
? Output Voltage Tolerance (VOUT ≥ 3.3 V): ±2%
? Low IQ (Enabled, No Load): 30 ?A Typical
? Low Dropout (VOUT ≥ 3.3 V): 95 mV Typical at
500-mA Load
? Stable With 1-?F Ceramic Input and Output
Capacitors
? Thermal-Overload and Short-Circuit Protection
? Reverse Current Protection
? No Noise Bypass Capacitor Required
? Output Automatic Discharge for Fast Turnoff
? Power-Good Output With 140-?s Typical Delay
? Internal Soft-Start to Limit the In-rush Current
? –40°C to +125°C Operating Junction Temperature
Range
PIN CONFIGUTION









