40V, 150mA, Low Quiescent CurrentLinear RegulatorAEC-Q100 Qualified, SGM2236Q Replace MPQ2013A.
SGM2236Q
SGM2236Q.pdf
FEATURES
? AEC-Q100 Qualified for Automotive Applications
Device Temperature Grade 1
TA = -40℃ to +125℃
? Operating Input Voltage Range: 2.5V to 40V
? Enable Pin Accept Voltages Higher than the
Supply Voltage and up to 40V
? Fixed Output from 1.8V to 12V
? Adjustable Output from 1.215V to 35V
? 200mA Output Current
? Output Voltage Accuracy: ±1% at +25℃
? Low Quiescent Current: 3.2μA (TYP)
? Low Dropout Voltage:
500mV (TYP) at 200mA, VOUT = 5.0V
? Current Limiting and Thermal Protection
? With Output Automatic Discharge
? Stable with Small Case Size Ceramic Capacitors
? -40℃ to +125℃ Operating Temperature Range
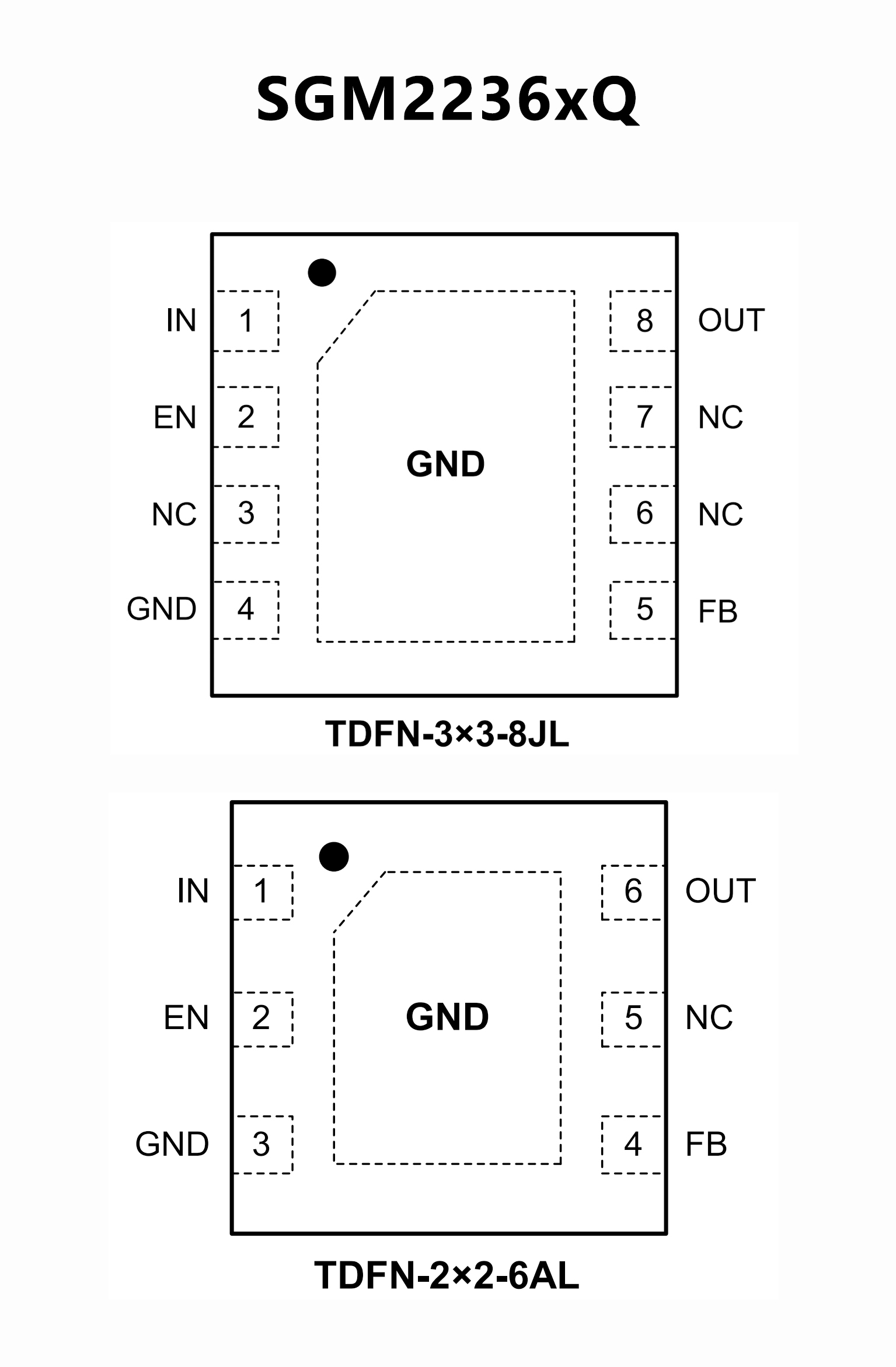
? Available in Green TDFN-2×2-6AL and
TDFN-3×3-8JL Packages
PIN CONFIGUTION
優(yōu)勢替代
FEATURES
? 2.5V to 40V Input Range
? 3.3?A Quiescent Supply Current
? Stable With Low-value Output Ceramic Capacitor (> 0.47 μF)
? 150mA Specified Current for QFN-6 and QFN-8 Packages
? 620mV Dropout at 150mA Load
? Available in Fixed and Adjustable Output (1.215 V to 15 V)
Versions
? Output ±2% Accuracy for QFN-8 Package Output ±4%
Accuracy for QFN-6 Package
? Specified Current Limit
? Thermal Shutdown
? -40°C to +150°C Specified Junction Temperature Range
? Available in QFN-6 (2mmx2mm), or QFN-8 (3mmx3mm)
Packages
? Available in AEC-Q100 Grade 1
PIN CONFIGUTION









