Low Noise Operational Amplifier, Replace MCP6L91
SGM721
SGM721.pdf
FEATURES
? Rail-to-Rail Input and Output
? Input Offset Voltage: 4mV (MAX)
? High Gain-Bandwidth Product: 11MHz
? High Slew Rate: 8.5V/μs
? Settling Time to 0.1% with 2V Step: 0.21μs
? Overload Recovery Time: 0.6μs
? Low Noise: 8.5nV/√Hz at 10kHz
? Supply Voltage Range: 2.1V to 5.5V
? Input Voltage Range: -0.1V to 5.6V with VS = 5.5V
? Low Power: SGM721/3: 1.2mA (TYP)
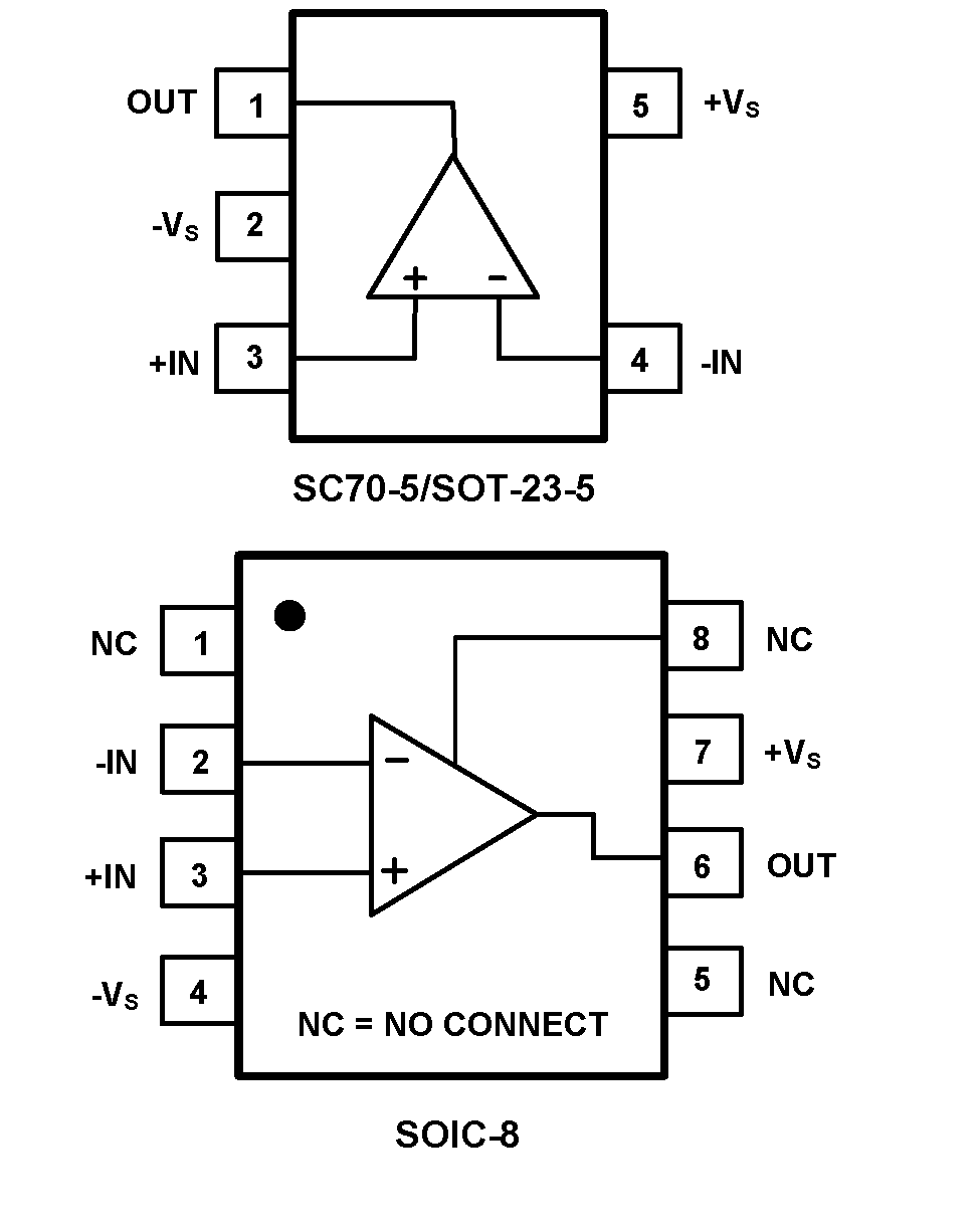
PIN CONFIGUTION
優勢替代
FEATURES
? Available in SOT-23-5 Package
? Gain Bandwidth Product: 10 MHz (typical)
? Rail-to-Rail Input/Output
? Supply Voltage: 2.4V to 6.0V
? Supply Current: IQ = 0.85 mA/Amplifier (typical)
? Extended Temperature Range: -40°C to +125°C
? Available in Single, Dual and Quad Packages
PIN CONFIGUTION









