High Precision Operational Amplifier, SGM8291-1 Replace OPA170.
SGM8291
SGM8291.pdf
FEATURES
? Low Power Consumption: 150μA/Amplifier
? Low Offset Voltage: 1.5mV (MAX)
? Wide Input Common Mode Voltage Range
? Low Input Bias and Offset Currents
? Output Short-Circuit Protection
? Rail-to-Rail Output
? High Input Impedance
? High Slew Rate: 7V/μs
? Small Packaging:
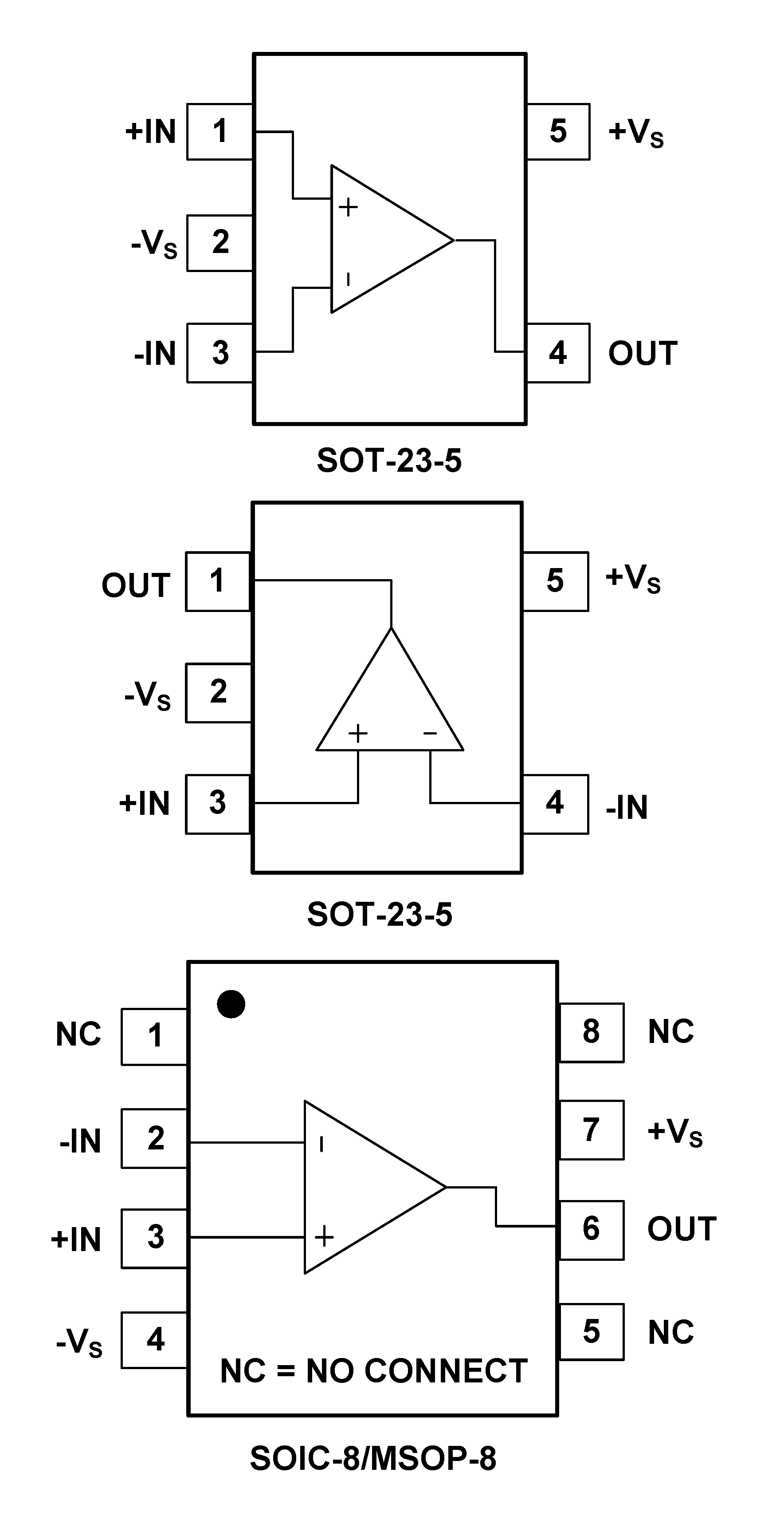
SGM8291 Available in Green SOT-23-5, MSOP-8 and SOIC-8
PIN CONFIGUTION
優(yōu)勢(shì)替代
FEATURES
? Supply Range: +2.7V to +36V, ±1.35V to ±18V
? Low Noise: 19nV/√Hz
? RFI Filtered Inputs
? Input Range Includes the Negative Supply
? Input Range Operates to Positive Supply
? Rail-to-Rail Output
? Gain Bandwidth: 1.2MHz
? Low Quiescent Current: 110μA per Amplifier
? High Common-Mode Rejection: 120dB
? Low Bias Current: 15pA (max)
PIN CONFIGUTION









