Low Noise Operational Amplifier, Replace TLV4314
SGM8624
SGM8624.pdf
FEATURES
? Rail-to-Rail Input and Output 3mV Maximum VOS
? High Gain-Bandwidth Product: 3MHz
? High Slew Rate: 1.7V/μs
? Settling Time to 0.1% with 2V Step: 0.5μs
? Overload Recovery Time: 2.3μs
? Low Noise: 17.5nV/ Hz at 1kHz
? Supply Voltage Range: 2V to 5.5V
? Input Voltage Range: -0.1V to +5.6V with VS = 5.5V
? Low Supply Current SGM8622/4: 210μA/Amplifier
? Small Packaging TSSOP-14 and SOIC-14
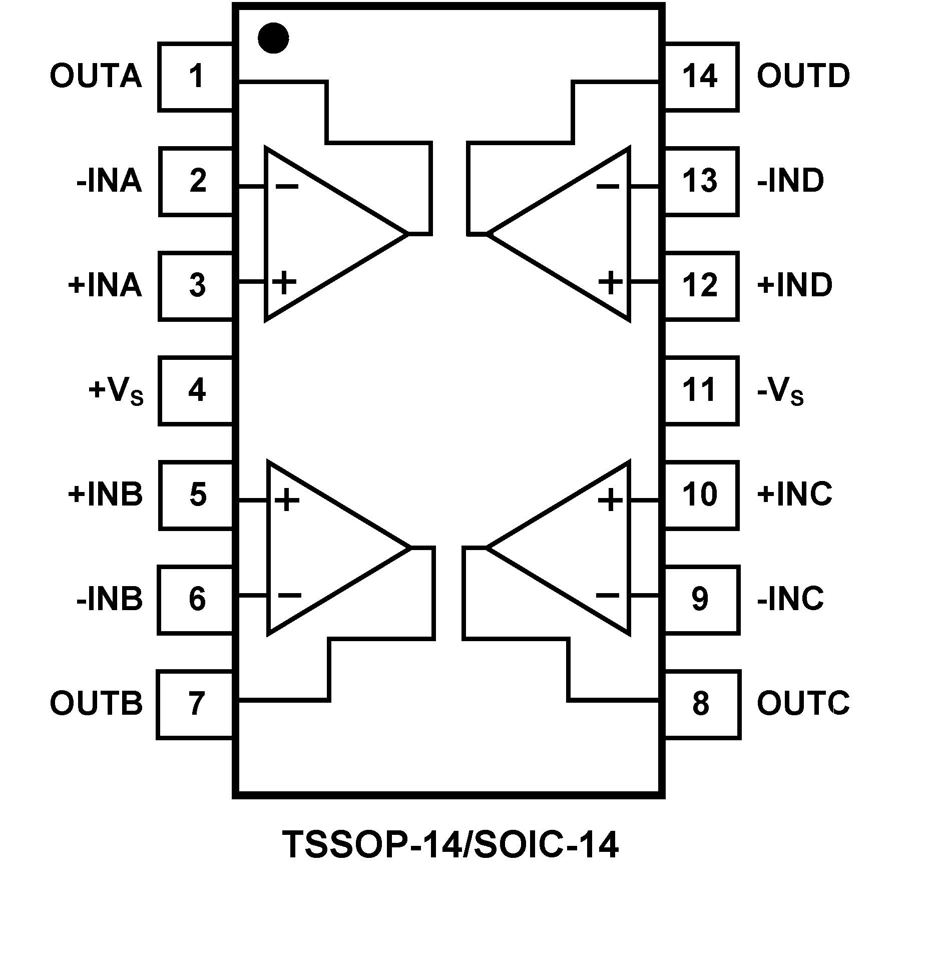
PIN CONFIGUTION
優勢替代
FEATURES
? Low Offset Voltage: 0.75 mV (typ)
? Low Input Bias Current: 1 pA (typ)
? Wide Supply Range: 1.8 V to 5.5 V
? Rail-to-Rail Input and Output
? Gain Bandwidth: 3 MHz
? Low IQ: 250 μA/Ch (max)
? Low Noise: 16 nV/√Hz at 1 kHz
? Internal RF/EMI Filter
? Extended Temperature Range: –40°C to +125°C
PIN CONFIGUTION









