High Precision Operational Amplifier, SGM8957-1 Replace TP5531.
SGM8957-1
SGM8957-1.pdf
FEATURES
? Low Offset Voltage: 25μV (MAX)
? Low 0.1Hz to 10Hz Noise: 2μVP-P
? Quiescent Current: 20μA/Amplifier (TYP)
? Single Supply Operation
? Integrated RFI Filter
? Supply Voltage Range: 1.8V to 5.5V
? Rail-to-Rail Input/Output
? -40℃ to +125℃ Operating Temperature Range
? Small Packaging:
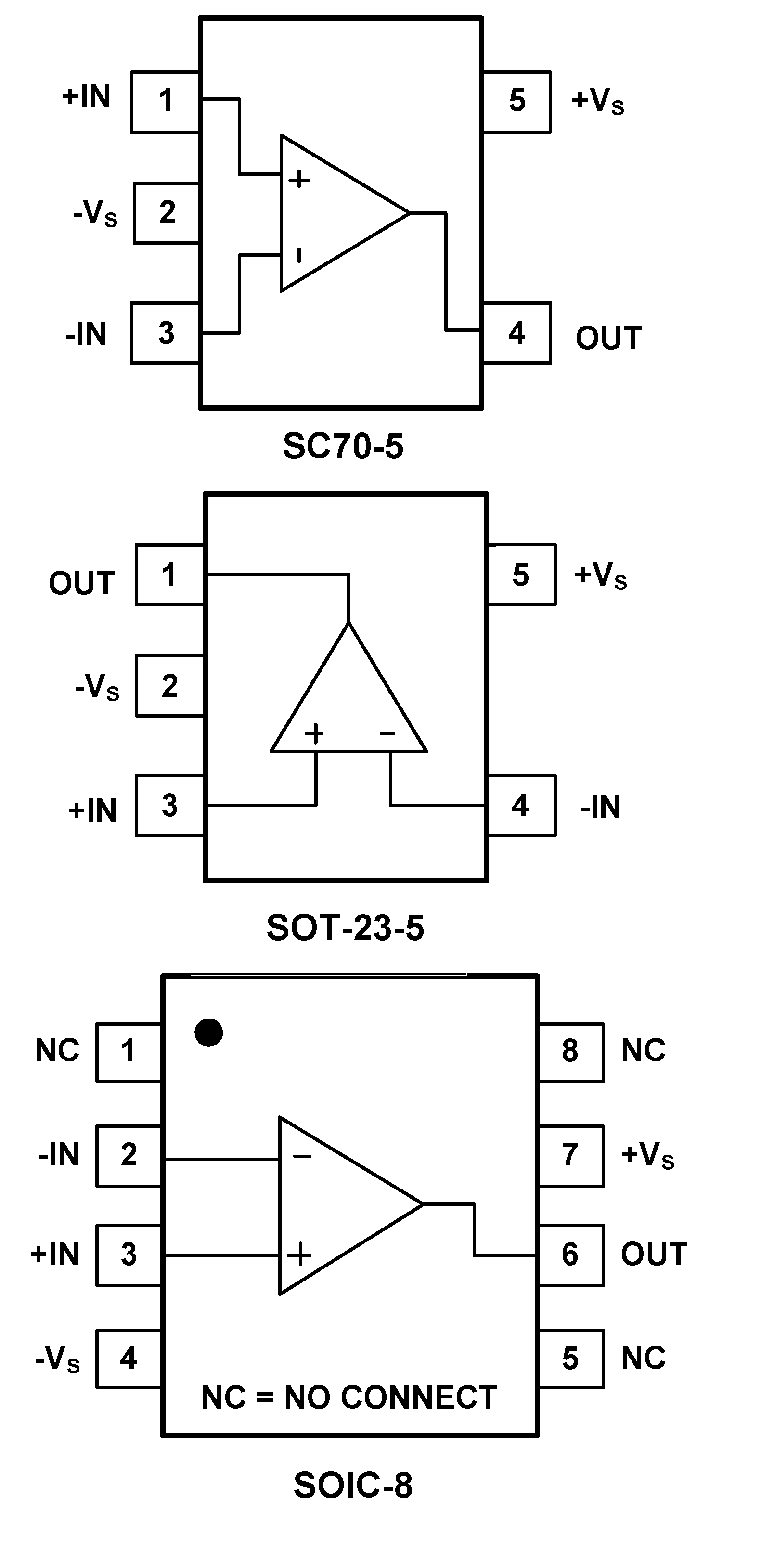
SGM8957-1 Available in Green SOT-23-5, SC70-5
and SOIC-8 Packages
PIN CONFIGUTION
優勢替代
FEATURES
? LOW OFFSET VOLTAGE: 10 μV (Max)
? ZERO DRIFT: 0.008 μV/°C
? 0.1Hz to 10Hz Noise: 1.1 μVPP
? Low Supply Current: 34?μA per Amplifier
? Bandwidth: 350 kHz
? Slew Rate: 0.16 V/μs
? High Gain, 130 dB High CMRR and PSRR
? Rail-to-rail Input and Output Swing
? –40°C to 125°C Operation Range
? Small Packages: SC70 and SOT23 (TP5531)
PIN CONFIGUTION









